Dodaj produkty podając kody
Dodaj plik CSV
Wpisz kody produktów, które chcesz zbiorczo dodać do koszyka (po przecinku, ze spacją lub od nowej linijki).
Powtórzenie wielokrotnie kodu, doda ten towar tyle razy ile razy występuje.
Śruba do betonu FBS II 6x60/5 P - 1 szt.
Śruba do betonu FBS II 6x60/5 P - 1 szt.
- Śruba do betonu Fischer UltraCut FBS II 6 x 60/5 P Łeb grzybkowy - 1 szt.
Zastosowanie:
- Mocowanie : łączniki bezpośrednie HatClipTM, linie rurociągów, podwieszenia pojedynczych rurociągów, podwieszane szyny montażowe, stropowe płyty kanałowe sprężone, trasy kablowe, kanały wentylacyjne, taśmy perforowane,
- Beton C20/25 do C50/60, zarysowany i niezarysowany,
- Obięte Oceną Techniczną (ETA) : stropy żelbetowe sprężone C30/37 do C50/60 do wielopunktowego mocowania systemów niekonstrukcyjnych,
- Nadaje się także do : betonu C12/15, ścian murowanych o gęstej strukturze, materiałów budowlanych pełnych.
Główne zalety:
- Pierwsza śruba do betonu o średnicy 6 mm i zmiennej głębokości kotwienia umożliwia uniwersalne stosowanie i dopasowanie śruby do poziomu obciążenia,
- Ocena Techniczna ETA (Opcja 1) umożliwia stosowanie śrub jako pojedynczych punktów mocujących w betonie zarysowanym i niezarysowanym,
- Europejska Ocena Techniczna ETA dopuszcza możliwość kotwienia w strefie sejsmicznej C1, co stanowi dodatkowe potwierdzenie bezpieczeństwa,
- Śruba UltraCut FBS II 6 nadaje się także wielopunktowych mocowań w systemach nienośnych i z tego względu idealnie nadaje się do montażu rurociągów, tras kablowcych do stropów z betonu sprężonego,
- Otwory nie wymagają czyszczenia podczas montażu pionowego (sufit i podłoga). W przypadku mocowań podłogowych należy wywiercić otwór głębszy o 3 krotność średnicy otworu,
- Różne rodzaje łba zapewniają uniwersalne stosowanie i idealne dopasowanie,
- Wersja śruby z wewnętrznym gwintem stopniowanym jest bardzo przydatna w przypadku montażu prętów nagwintowanych lub łączników,
- Według Oceny Technicznej możliwa jest regulacja śruby poprzez jej dwukrotne odkręcanie oraz podłożenie podkładki o maks. grubości 10 mm i ponowne przykręcenie,
- Śruba betonowa UltraCut FBS II 6 nadaje się do zastosowania w murach (tj. w pełnych materiałach budowlanych),
- Śruba do betonu FBS II 6-10 jest oferowana w wersji cynkowanej, ze stali powlekanej CP oraz ze stali nierdzewnej R, a Ocena Techniczna ETA umożliwia jej stosowanie w murach (także tynkowanych) z cegły (EN771-1), bloczków silikatowych (EN771-2) i bloczków silikatowych z otworami (EN771-2).
Specyfikacja techniczna:
- Typ elementu - Śruba do betonu FBS II 6x60/5 P ,
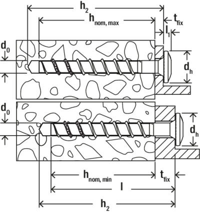
- Wymiary: średnica - 6,0mm, długość - 60mm,
- Powłoka antykorozyjna (zastosowanie w środowiskach korozyjności klasy C3),
- Klasa reakcji na ogień - A1,
- Średnica wiercenia - 6,0mm, głębokość wiercenia - 70mm, głębokość wkręcania śruby -25-55mm,
- Gniazdo TX30, średnica łba - 14,4mm, wysokość łba 3,7mm.

Podmiot odpowiedzialny za produkt:
- Firma: Fischer Polska Sp. z o.o.
- Adres: ul. Albatrosów 2, 30-716 Kraków
- Tel: 12 290 08 80
- e-mail: info@fischerpolska.pl
- Strona internetowa: www.fischerpolska.pl
Do pobrania
Zasoby dotyczące bezpieczeństwa i produktów
Marka
Podmiot odpowiedzialny za ten produkt na terenie UE
Innovative Drywall Solutions Kotowicz Spółka JawnaWięcej
Adres:
Białej Floty 4/34Kod pocztowy: 02-654Miasto: WarszawaKraj: PolskaAdres email: sklep@ids-drywall.pl
Kod producenta
5906506982428
Gwarancja
Średnica wiercenia w milimetrach
6
Ilość w opakowaniu
1
Długość towaru w milimetrachWięcej
Długość towaru w centymetrach
60
grubość towaru w milimetrach
6
Gwarancja producenta na 1 rok
Producent gwarantuje naprawę lub wymianę sprzętu do 12 miesięcy od daty zakupu. Skontaktuj się ze sklepem za pośrednictwem formularza reklamacji aby zamówić kuriera który odbierze sprzęt z Twojego domu.
Pytania innych klientów
Witam, czy wasze śruby do betonu FBS II nadadzą się również do gazobetonu?
Dzień dobry,
Niestety ta śruba do betonu FBS nie będzie odpowiednia do gazobetonu (beton komórkowy). Do gazobetonu zalecamy dwa typy kotew stalowych: 1). do małych obciążeń metalowy kołek SPAC 6x32mm i 8x38mm i 2). do b. dużych obciążeń kotwę stalową FPX M6-I.
W przypadku kotew z tworzywa zalecamy uniwersalne kołki DuoPower 6 lub 8 mm średnicy. W razie dodatkowych pytań prosimy o kontakt.
Pozdrawiamy Zespół IDS
Zapytaj o produkt
Napisz swoją opinię














